Product Overview
GW Pipeline Sewage Pump is a vertical in-line non-clog centrifugal sewage pump designed for direct pipeline installation in municipal and industrial wastewater systems.
It solves pipeline sewage lifting and transport where space is limited and solid-laden wastewater must pass without blockage.
It is used in urban drainage networks, building basement sewage discharge, industrial wastewater transfer, and retrofit pipeline systems.
Model Designation

Applications
Typical Working Conditions
- Basement sewage lifting stations in commercial buildings
- Municipal gravity-to-pressure pipeline conversion systems
- Industrial wastewater transfer with suspended solids
- Sewage discharge in confined mechanical rooms
- Retrofit replacement in vertical pipeline shafts
Engineering Advantages
Structural Logic & Engineering Result
- Vertical in-line structure aligned with pipeline centerline → minimizes footprint and simplifies installation in confined plant rooms
- Single-stage non-clog impeller hydraulic design → allows stable passage of solids and fibrous wastewater
- Direct-coupled motor structure → reduces transmission loss and improves mechanical efficiency
- Standardized mechanical seal system → improves sealing reliability under continuous sewage duty
System Components
GW Vertical In-line Sewage Pump:
- Pump casing
- Non-clog impeller
- Pump shaft
- Mechanical seal assembly
- Bearing housing
- Motor
- Base & coupling system
Technical Parameters
Service Conditions
Suitable for wastewater containing suspended solids and soft fibrous materials.
Operating Conditions
Flow Rate: 7 – 2650 m³/h
Head: 7 – 60 m
Power Range: 0.55 – 250 kW
Speed: 740 / 980 / 1450 / 2900 rpm
Liquid Temperature: ≤ 80°C
Working Pressure: ≤ 1.6 MPa
Detailed parameter tables are provided below.
Installation & Dimensions
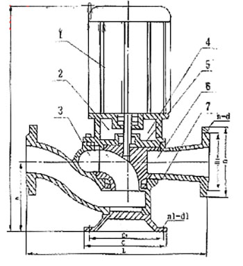
Outline Drawing

Performance Data
|
1
|
Motor
|
|
2
|
Intermediate End Cover
|
|
3
|
Pump Body
|
|
4
|
Water Seal Ring
|
|
5
|
Mechanical Seal
|
|
6
|
Impeller
|
|
7
|
Seal Ring
|
Performance Parameters
|
Model
|
Diameter
|
Flow Rate (m³/h)
|
Head (m)
|
Speed (rpm)
|
Power (kW)
|
Efficiency (%)
|
|
mm
|
(m3/h)
|
(M)
|
(r/min)
|
(kw)
|
(%)
|
|
|
25-7-8-0.55
|
25
|
7
|
8
|
2900
|
0.55
|
45
|
|
25-8-22-1.1
|
25
|
8
|
22
|
2900
|
1.1
|
45
|
|
32-8-12-0.75
|
32
|
8
|
12
|
2900
|
0.75
|
48
|
|
32-12-15-1.1
|
32
|
12
|
15
|
2900
|
1.1
|
45
|
|
40-15-15-1.5
|
40
|
15
|
15
|
2900
|
1.5
|
48
|
|
40-15-30-2.2
|
40
|
15
|
30
|
2900
|
2.2
|
54
|
|
50-20-7-0.75
|
50
|
20
|
7
|
2900
|
0.75
|
51
|
|
50-10-10-0.75
|
50
|
10
|
10
|
2900
|
0.75
|
52
|
|
50-20-15-1.5
|
50
|
20
|
15
|
290
|
1.5
|
53
|
|
50-15-25-2.2
|
50
|
15
|
25
|
2900
|
2.2
|
54
|
|
50-18-30-3
|
50
|
18
|
30
|
2900
|
3
|
55
|
|
50-40-15-4
|
50
|
40
|
15
|
2900
|
4
|
55
|
|
50-25-32-5.5
|
50
|
25
|
32
|
2900
|
5.5
|
55
|
|
50-20-40-7.5
|
50
|
50
|
20
|
2900
|
7.5
|
58
|
|
65-25-15-2.2
|
65
|
25
|
15
|
2900
|
2.2
|
50
|
|
65-37-13-3
|
65
|
37
|
13
|
2900
|
3
|
57
|
|
65-25-30-4
|
65
|
25
|
30
|
2900
|
4
|
61
|
|
65-30-40-7.5
|
65
|
30
|
40
|
2900
|
7.5
|
56
|
|
65-35-50-11
|
65
|
35
|
50
|
2900
|
11
|
45
|
|
65-35-60-15
|
65
|
35
|
60
|
2900
|
15
|
65
|
|
80-40-7-2.2
|
80
|
40
|
7
|
1450
|
2.2
|
59
|
|
80-43-13-3
|
80
|
43
|
13
|
2900
|
3
|
70
|
|
80-40-15-4
|
80
|
40
|
15
|
2900
|
4
|
61
|
|
80-60-13-5.5
|
80
|
60
|
13
|
2900
|
5.5
|
67
|
|
80-65-25-7.5
|
80
|
65
|
25
|
2900
|
7.5
|
63
|
|
Model
|
Diameter
|
Flow Rate (m³/h)
|
Head (m)
|
Speed (rpm) |
Power (kW)
|
Efficiency (%)
|
|
mm
|
(m3/h)
|
(M)
|
(r/min)
|
(kw)
|
(%)
|
|
|
100-80-10-4
|
100
|
100
|
10
|
1450
|
4
|
65
|
|
100-100-15-7.5
|
100
|
100
|
15
|
1450
|
7.5
|
68
|
|
100-80-20-7.5
|
100
|
80
|
20
|
1450
|
7.5
|
65
|
|
100-100-25-11
|
100
|
100
|
25
|
1450
|
11
|
70
|
|
100-100-30-15
|
100
|
100
|
30
|
1450
|
15
|
65
|
|
100-100-35-18.5
|
100
|
100
|
35
|
1450
|
18.5
|
68
|
|
125-130-15-11
|
125
|
130
|
15
|
1450
|
11
|
72
|
|
125-130-20-15
|
125
|
130
|
20
|
1450
|
15
|
75
|
|
150-145-9-7.5
|
150
|
145
|
9
|
1450
|
7.5
|
76
|
|
150-180-15-15
|
150
|
180
|
15
|
1450
|
15
|
69
|
|
150-180-20-18.5
|
150
|
180
|
20
|
1450
|
18.5
|
72
|
|
150-180-25-22
|
150
|
180
|
25
|
1450
|
22
|
78
|
|
150-130-30-22
|
150
|
130
|
30
|
1450
|
22
|
78
|
|
150-180-30-30
|
150
|
180
|
30
|
1450
|
30
|
78
|
|
150-200-30-37
|
150
|
200
|
30
|
1450
|
37
|
73
|
|
200-300-7-11
|
200
|
300
|
7
|
980
|
11
|
66
|
|
200-250-11-15
|
200
|
250
|
11
|
1450
|
15
|
64
|
|
200-250-15-18.5
|
200
|
250
|
15
|
1450
|
18.5
|
73
|
|
200-400-10-22
|
200
|
400
|
10
|
1450
|
22
|
75
|
|
200-400-13-30
|
200
|
400
|
13
|
14501
|
30
|
76
|
|
200-300-15-22
|
200
|
300
|
15
|
1450
|
22
|
76
|
|
200-250-22-30
|
200
|
250
|
22
|
1450
|
30
|
71
|
|
200-350-25-37
|
200
|
350
|
25
|
1450
|
37
|
71
|
|
200-400-30-45
|
200
|
400
|
30
|
1450
|
45
|
74
|
| Model |
Diameter
|
Flow Rate (m³/h)
|
Head (m)
|
Speed (rpm)
|
Power (kW)
|
Efficiency (%)
|
|
mm
|
(m3/h)
|
(M)
|
(r/min)
|
(kw)
|
(%)
|
|
|
250-600-9-30
|
250
|
600
|
9
|
980
|
30
|
78
|
|
250-600-12-37
|
250
|
600
|
12
|
1450
|
37
|
76
|
|
250-600-15-45
|
250
|
600
|
15
|
1450
|
45
|
73
|
|
250-600-20-55
|
250
|
600
|
20
|
1450
|
55
|
73
|
|
250-600-25-75
|
250
|
600
|
25
|
1450
|
75
|
71
|
|
300-800-12-45
|
300
|
800
|
12
|
980
|
45
|
74
|
|
300-480-15-45
|
300
|
480
|
15
|
1450
|
45
|
66
|
|
300-800-15-55
|
300
|
800
|
15
|
1450
|
55
|
73
|
|
300-600-20-55
|
300
|
600
|
20
|
1450
|
55
|
73
|
|
300-800-20-75
|
300
|
800
|
20
|
1450
|
75
|
75
|
|
300-950-20-90
|
300
|
950
|
20
|
1450
|
90
|
76
|
|
300-1000-25-110
|
300
|
1000
|
25
|
1450
|
110
|
76
|
|
300-1100-10-55
|
300
|
1100
|
10
|
1450
|
55
|
73
|
|
350-1500-15-90
|
350
|
1500
|
15
|
740
|
90
|
87
|
|
350-1200-18-90
|
350
|
1200
|
18
|
980
|
90
|
85
|
|
350-1100-28-132
|
350
|
1100
|
28
|
980
|
132
|
84
|
|
350-1000-36-160
|
350
|
1000
|
36
|
980
|
160
|
84
|
|
400-1760-7.5-55
|
400
|
1760
|
7.5
|
980
|
55
|
83
|
|
400-1500-10-75
|
400
|
1500
|
10
|
980
|
75
|
86
|
|
400-2000-13-110
|
400
|
2000
|
13
|
980
|
110
|
84
|
|
400-2000-15-132
|
400
|
2000
|
15
|
980
|
132
|
83
|
|
400-1700-22-160
|
400
|
1700
|
22
|
980
|
160
|
83
|
|
400-1500-26-160
|
400
|
1500
|
26
|
980
|
160
|
84
|
|
Model
|
Diameter
|
Flow Rate (m³/h)
|
Head (m)
|
Speed (rpm)
|
Power (kW)
|
Efficiency (%)
|
|
mm
|
(m3/h)
|
(M)
|
(r/min)
|
(kw)
|
(%)
|
|
|
400-1800-32-250
|
400
|
1800
|
32
|
980
|
250
|
82
|
|
500-2500-10-110
|
500
|
2500
|
10
|
740
|
110
|
85
|
|
500-2600-15-160
|
500
|
2600
|
15
|
740
|
160
|
84
|
|
500-2400-22-220
|
500
|
2400
|
22
|
740
|
220
|
85
|
|
500-2650-24-250
|
500
|
2650
|
24
|
740
|
250
|
85
|
How to Select a Pump Model
- Determine required flow rate and total dynamic head based on pipeline system resistance
- Confirm maximum solid size and fiber content of sewage medium
- Verify installation orientation and available shaft space
- Check system working pressure compatibility
Engineering Notes
- Pump must operate within specified hydraulic performance curve range
- Continuous operation at low-flow conditions should be avoided
- Shaft alignment tolerance must meet installation standards
- For high solid concentration media, wear-resistant materials are recommended
- Pipeline support must prevent vibration transmission to building structure
Compliance & Quality Assurance
- Factory hydraulic performance test before delivery
- Impeller dynamic balance verification
- Mechanical seal pressure integrity test
- Material traceability for main pressure components
- Optional third-party inspection upon request
Safety Notice
- Do not operate under dry-running condition
- Ensure pipeline is fully primed before startup
- Disconnect power before maintenance
- Do not exceed specified working pressure
OEM & Customization
This pump series supports engineered configuration and duty-based matching. Technical adjustments can be made according to system requirements and installation conditions.
Available options include:
- Motor voltage & frequency
- Mechanical seal type and configuration
- Impeller material selection
- Surface coating and corrosion protection
Configuration is determined based on duty point and project specifications.
FAQs
Q: What is the maximum allowable solid size?
A: It depends on model size; typically designed for non-clog sewage passage with suspended solids.
Q: Can the pump operate under VFD control?
A: Yes, frequency conversion is permitted within rated speed limits.
Q: What is the allowable working pressure?
A: Maximum allowable working pressure is 1.6 MPa.
Q: What sealing options are available?
A: Single mechanical seal is standard; double seal configuration can be optional.
Q: Can the pump be installed horizontally?
A: No, this series is designed for vertical in-line installation only.
Q: What type of wastewater is suitable?
A: Municipal sewage and industrial wastewater containing soft solids and fibers.